产品目录
PRODUCT CENTER- 能见度监测站
- 负氧离子监测站
- 公路气象站
- 空气质量监测站
- 负氧离子检测仪
- VOC在线监测设备
- 隧道检测设备
- 走航设备
- 路面状况传感器
- 烟气分析仪
- 粉尘浓度检测仪
- 粉尘采样器
- 便携式EL检测仪
- 恶臭监测设备
- 光透过率检测仪
- 风量仪
- 便携式iv测试仪
- 雷达测速仪
- 电能质量分析仪
- 光伏电站灰尘监测系统
- 组串电源
- 噪声监测站
- 辐射传感器
- 光伏气象站
- GNSS位移监测站
- 车载气象站
- 便携式气象站
- 云高仪
- 生命探测仪
- 漏电探测仪
- 气体检测仪
- 能见度传感器
- 在线尘埃粒子计数器
- 雷电预警系统
- 全天空成像仪
推荐文章
- 光伏组件检测仪:精准排查隐患,守护光伏高效发电
- 防腐木款负氧离子自动监测站:颜值与实力并存,守护清新好空气
- 小巧能随身,便携式能见度检测仪守护出行每一步
- 一键捕捉天空百态,全自动天空成像仪为多行业筑牢安全防线
- 不占空间不费工,便携式自动气象站,气象监测随身带
- 无需专业操作,手持式漏电探测仪,轻松守护用电安全
- 手持式VOC检测仪,一键识破有害气体隐患
- 光伏运维不用愁,便携式iv测试仪,精准检测更省心高效
- 太阳能光伏气象站:光伏赋能测气象,节能高效护全域
- 公路气象监测站:守护公路通行,守护一路畅通
- 不用固定点位!便携式多要素气象站走到哪测到哪
- 精准感知雷电动态,雷电监测预警系统,安全更有保障
联系我们
联系人:周经理
联系电话:19853697985
客服QQ:3836021633
公司地址:山东省潍坊高新区新城街道玉清社区光电路155号潍坊高新区光电产业加速器(一期)1号楼301
路面状况传感器
更新时间: 2026-04-28产品详情
一、路面状况传感器产品介绍
路面状况传感器又称路面状况检测器,路面状况检测仪,路面状况传感器提高了公路养护和公路管理的效率,为公众提供准确,全面的公路气象信息,避免公路交通延误,减少因恶劣天气诱发的交通事故。
路面状况传感器又称路面状况检测器,路面状况传感器采用遥感技术,多光谱测量技术使得能准确检测道出道路表面结冰、积雪和积水的存在状态和厚度,同时还能实时监测影响交通安全的大雾、雨和雪等天气现象。
WX-LM1系列非接触式路面状态检测器,它采用遥感技术,避免了对道路的破坏,从而不会因为安装道路气象站引起的对交通的干扰。多光谱测量技术使得能准确检测道出道路表面结冰、积雪和积水的存在状态和厚度,同时还能实时监测影响交通安全的大雾、雨和雪等天气现象。
二、功能
l检测路面积水、积雪、结冰状态
l远距离遥感检测路面、桥面状况
l非埋入式安装快捷简便
l车流量和事故多发区域
l雨雪多发区域
l维护成本低
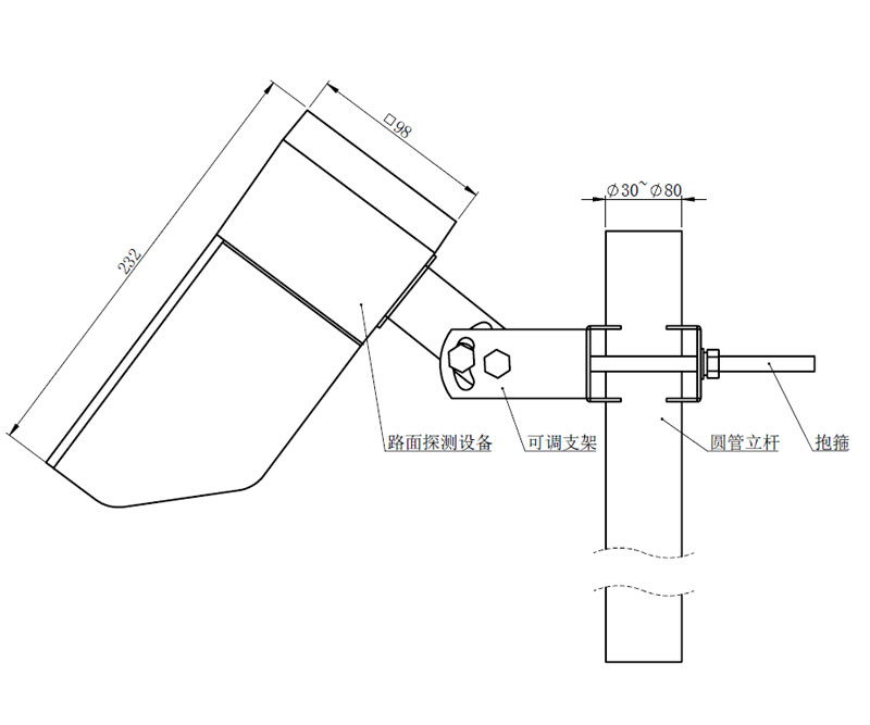
三、产品尺寸图

四、主要指标
型号 | WX-LM3(停售) | WX-LM1 |
检测距离及检测区域直径 | 2-8米;23cm | |
对水平线的安装角度 | 30-80度 | |
电源及功耗 | DC12-24V; 0.6W | |
工作温度和湿度 | 温度:-40 ºC 至 +60 ºC ; 湿度:0 至 95% | |
积水厚度 | - | 0-10 mm |
覆冰厚度 | - | 0-2 mm |
积雪厚度 | - | 0-2 mm |
湿滑程度 | - | 0.01(湿滑)-0.82(摩擦强) |
路面状态报告 | 干燥、 潮、 湿、 雪、 冰、 冰水混合 | |
公路天气现象(选配) | 路面温度: -40 ºC 至 +60 ºC | |
天气现象: 雨;雪;大雾 | ||
路面材料 | 混凝土、沥青路面 | |
通讯 | RS485、RS232 | |
本文地址:http://www.wxzhhj.com/lmzk/62.html
- 上一篇:没有了!
- 下一篇:非接触式路面传感器
最新文章
-
2026-04-28 15:51:11
光伏组件检测仪:精准排查隐患,守护光伏高效发电
-
2026-04-28 15:50:05
防腐木款负氧离子自动监测站:颜值与实力并存,守护清新好空气
-
2026-04-27 16:42:12
小巧能随身,便携式能见度检测仪守护出行每一步
-
2026-04-27 16:40:07
一键捕捉天空百态,全自动天空成像仪为多行业筑牢安全防线
-
2026-04-24 16:47:28
不占空间不费工,便携式自动气象站,气象监测随身带
-
2026-04-24 16:46:17
无需专业操作,手持式漏电探测仪,轻松守护用电安全
-
2026-04-23 16:35:44
手持式VOC检测仪,一键识破有害气体隐患
-
2026-04-23 16:34:33
光伏运维不用愁,便携式iv测试仪,精准检测更省心高效
-
2025-11-14 15:26:42
不碰路面也能测!非接触式路面传感器揪出积水积雪结冰
-
2024-10-17 15:28:34
太阳能光伏el检测设备的创新在哪里?
-
2024-12-24 15:25:25
光伏组件测试仪:高精度检测,让光伏板缺陷无所遁形
-
2025-09-15 15:03:55
一体化负氧离子监测站,让环境监测更直观、更有趣!
-
2024-03-27 16:23:32
无人机大气监测系统——大气污染监测的“千里眼”
-
2025-04-16 15:31:39
扼流圈GNSS监测站——山体滑坡位移监测优选设备
-
2024-12-16 15:12:05
光伏电站环境监测仪有什么作用?
-
2026-03-17 15:35:11
随手即测显便捷,便携式气象监测站让气象监测能延伸到更多场景
